
ظاهرا عزم الجی برای بازگشت به بازار موبایل جدی استطراحی دستگاه نمایشگر موجود در پتنت الجی نشان میدهد که این شرکت احتمالاً دوباره به صنعت گوشی باز خواهد گشت.
درخواست ثبت اختراع جدیدی از سوی LG نشان میدهد که این شرکت ممکن است پساز خروج ناگهانی خود از بازار موبایل در سال ۲۰۲۱، به فکر بازگشت به این صنعت باشد.
ادارهی ثبت اختراع و علائم تجاری ایالات متحده (USPTO) سند ۱۴ صفحهای الجی را در اکتبر ۲۰۲۴ (مهر و آبان) منتشر کرد. الجی این اختراع را در ژوئن (خرداد و تیر) ثبت کرده است که به ما اجازه میدهد در مورد بازگشت آن به صنعت گوشی گمانهزنی کنیم.
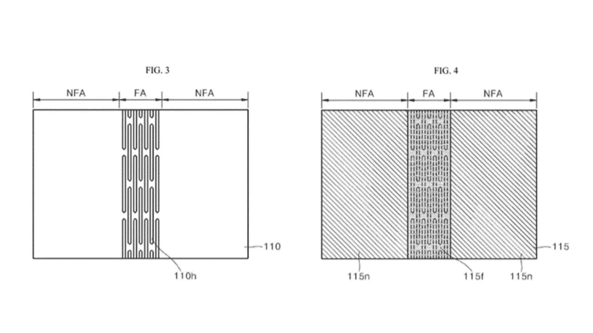
LGاختراع الجی نوع جدیدی از نمایشگر تاشدنی را توصیف میکند که برای رفع مشکلات طراحیهای فعلی مانند گلکسی زد فلیپ ۶ سامسونگ طراحی شده است و بر بهبود عملکرد قسمت تاشدنی صفحهنمایش و افزایش دوام و کاهش آسیبپذیری نمایشگر در طول زمان تمرکز دارد.

همانطور که الجی در سند خود ذکر میکند، ساختار پشتیبان محکمی در ناحیهی لولا و لایههای چسبنده با سطوح پخت متفاوت برای بهبود عملکرد تاشوندگی و کاهش چینخوردگی نمایشگر اضافه میشود.

الجی میگوید: «کاربرانی که به تماشای ویدیو یا اجرای بازی روی دستگاه قابل حمل میپردازند، نمایشگر بزرگتر را ترجیح میدهند. بااینحال، هنگامی که صفحهنمایش دستگاه قابل حمل بزرگ میشود، قابلیت حمل آن کاهش مییابد.»
LG سالها پیش کسبوکار گوشی هوشمند خود را تعطیل کرد. غول فناوری کرهی جنوبی گفت که درهای خود را روی این تجارت بسته است تا روی سایر حوزهها مانند قطعات خودروهای برقی، اینترنت اشیا، خانههای هوشمند، رباتیک و هوش مصنوعی تمرکز کند.
سند ثبت اختراع جدید الجی اندکی پساز آن ظاهر شد که اختراع دیگری از این شرکت، بازگشت احتمالی آن با یک دستگاه رولشونده را نشان میداد که سالها پیش متوقف شده بود. سامسونگ، رقیب LG در کرهی جنوبی نیز برای گوشی سهتکهای ثبت اختراع کرده است که در صورت تحقق، میتواند در سال ۲۰۲۵ در سراسر جهان عرضه شود.




